Van bi thép dùng cho dầu khí, hóa dầu và các ngành công nghiệp liên quan - Phần 3
6. Vật liệu
6.1. Vỏ
Vỏ và các thành phần cấu thành như thân, thân chèn, nắp thân, vỏ và ngõng trục phải được chế tạo từ vật liệu quy định trong ASME B16.34 cho van phân loại theo loại, hoặc trong EN 1092-1 cho van phân loại theo PN. Những thành phần trên của vỏ được nhận dạng trong Phụ lục B.
6.2. Sửa chữa vật liệu vỏ
Khuyết tật trong van đúc hoặc trong vật liệu vỏ chịu áp của van rèn, xuất hiện trong quá trình sản xuất hoặc thử nghiệm, có thể cho phép sửa chữa bằng các vật liệu có tính năng áp dụng gần nhất so với vật liệu đúc hoặc rèn.
6.3. Cơ cấu đóng cắt
Các chi tiết kim loại bên trong của van như bi, trụ van, mặt tỳ, liên kết mặt tỳ đều phải có tính chống ăn mòn tương đương hoặc tốt hơn vỏ. Tuy nhiên bên mua hàng có thể quy định vật liệu làm cơ cấu đóng cắt có đặc tính chống ăn mòn tốt hơn hoặc độ bền cao hơn.
6.4. Tấm nhãn mác
Vật liệu dùng cho tấm nhãn mác phải là thép austenitic không gỉ hoặc là hợp kim niken. Tấm nhãn mác phải được gắn vào van bởi vít xiết chống ăn mòn hoặc hàn.
6.5. Bu lông
6.5.1. Trừ trường hợp có yêu cầu khác từ phía bên mua, bu lông để lắp ráp các thành phần vỏ chịu áp suất phải phù hợp với ASTM A193-B7 hoặc EN 10269, phẩm cấp của vật liệu 1, 7225. 42CrMo4 và đai ốc phải phù hợp với ASTM A194-2H hoặc EN 10269, phẩm cấp vật liệu 1,1191 C45E. Nếu nhiệt độ làm việc dưới -29oC thì bên mua phải quy định vật liệu làm bu lông.
6.5.2. Trừ trường hợp có yêu cầu khác từ bên mua, bu lông lắp ghép tấm chèn phải có đặc tính cơ học tối thiểu bằng ASTM A307 loại B hoặc EN10269 loại C35E.
6.6. Đệm kín
Vật liệu làm đệm trụ van, đệm thân van và đệm nắp chèn phải thích hợp với nhiệt độ cho phép lớn nhất và áp suất/nhiệt độ danh nghĩa tương ứng do nhà sản xuất quy định cho van. Các chi tiết kim loại trong đệm kín phải có tính chống ăn mòn tương đương hoặc tốt hơn vật liệu vỏ.
6.7. Nút ren
Nút ren sử dụng để bít kín lỗ ren phải có tính chống ăn mòn tương đương hoặc cao hơn so với vỏ. Gang dẻo, gang xám, hoặc bất cứ loại gang khác không được dùng làm chi tiết này.
6.8. Nhiệt độ làm việc thấp
Khi nhiệt độ làm việc dưới -29oC, vật liệu phải được quy định bởi bên mua hàng.
7. Ghi nhãn
7.1. Tính rõ ràng
Mỗi van sản xuất theo tiêu chuẩn này phải được ghi nhãn một cách rõ ràng theo ISO 5209, ngoại trừ các yêu cầu của điều khoản này phải áp dụng.
7.2. Ghi nhãn cho thân van
7.2.1. Thân van bắt buộc phải ghi nhãn theo điều 7.2.2 như sau:
- Tên nhà sản xuất hoặc nhãn hiệu;
- Vật liệu thân;
7.2.2. Đối với van nhỏ hơn DN 50, nếu kích thước, hình dạng không cho phép ghi nhãn tất cả các thông tin như yêu cầu phía trên, một hoặc nhiều thông tin có thể lược bỏ, với điều kiện chúng đã được ghi rõ trên tấm nhãn mác. Thứ tự ưu tiên của các thông số loại bỏ được thực hiện như sau:
- Kích thước danh nghĩa;
- PN ký hiệu hoặc số loại;
- Vật liệu thân.
7.3. Ghi nhãn cho bích có rãnh tròn
Mặt bích chỉ yêu cầu được ghi nhãn nó được tạo rãnh cho các đệm bích dạng vòng. Khi đó, số đệm dạng vòng (ví dụ R25) phải được ghi nhãn ở biên của cả hai mặt bích. Với số đệm dạng vòng, xem ASME B16.5.
7.4. Tấm nhãn mác:
Mỗi van phải có tấm một tấm nhãn mác với cách ghi nhãn như sau:
- Tên nhà sản xuất;
- Áp suất thiết kế;
- Giới hạn nhiệt độ và áp suất tương ứng, nếu chấp nhận;
- Giới hạn chênh áp và nhiệt độ tương ứng;
- Dạng cơ cấu đóng cắt, ví dụ: PTFE;
- Dạng ren ống, NPT hay Rc
Số hiệu của tiêu chuẩn này có thể bao gồm trong tấm nhãn mác và nó cung cấp tất cả các yêu cầu khả dụng mà nó đạt được.
7.5. Ghi nhãn đặc biệt cho van một chiều
Van được thiết kế hoặc thay đổi thành van có khả năng chặn dòng một chiều phải ký hiệu riêng trên tấm nhãn mác như trong Hình 3.

Hình 3 - Ký hiệu van một chiều trên tấm nhãn mác
8. Thử nghiệm và giám sát
8.1. Thử áp suất
Mỗi van đều phải thử áp suất cho vỏ và thử độ kín phù hợp với quy định TCVN 9441 (ISO 5208) trừ trường hợp bổ sung ở đây. Trước khi thử áp lực phải loại bỏ hợp chất làm kín, dầu, mỡ ở bề mặt tỳ, tuy nhiên cho phép bôi một lớp dầu nhẹ hơn dầu hỏa để tránh xây xát bề mặt tỳ.
8.1.2. Thử vỏ
8.1.2.1. Thử vỏ nên được thực hiện ở áp suất không nhỏ hơn 1,5 lần áp suất tương ứng với áp suất van ở 38oC. Nếu van được thiết kế có kết cấu bịt kín điều chỉnh được thì phải điều chỉnh để duy trì được áp suất thử vỏ.
8.1.2.2. Thời gian thử vỏ là thời gian tối thiểu duy trì áp suất trong van, thời gian này phải phù hợp với Bảng 7.
8.1.2.3. Trong suốt quá trình thử, không được có bất kì sự rò rỉ nào được phép xuất hiện ở thành vỏ hoặc các vị trí bịt kín, cả trên thân và ở các đệm kín.
8.1.3. Thử độ kín của van
8.1.3.1. Đối với van thiết kế có đệm đàn hồi, việc thử độ kín phải dùng khí nén với áp suất trong phạm vi 400 kPa cho đến 700 kPa. Đối với thiết kế bi rời, phương pháp thử là điền đầy khoang giữa đế tỳ và thân bằng khí nén để chắc chắn rằng không có sự rò rỉ nào xuất hiện. Đối với van có ngõng trục chặn dòng ngược lên, phương pháp thử dựa trên việc đo rò rỉ của dòng hướng lên và ngược lại đối với van có ngõng trục chặn dòng hướng xuống.
8.1.3.2. Đối với thiết kế van có đế tỳ kim loại hoặc đế tỳ gốm, việc thử độ kín phải dùng chất lỏng với áp suất không dưới 1,1 lần suất ở 38 độ C theo áp suất/nhiệt độ danh nghĩa. Đối với thiết kế bi động, phương pháp kiểm tra là điền đầy khoang giữa đế tỳ và thân bằng chất lỏng để chắc chắn rằng không có sự rò rỉ nào tại mặt tỳ. Đối với van có ngõng trục chặn dòng lên, phương pháp thử dựa trên việc đo rò rỉ của dòng hướng lên và ngược lại đối với van ngõng trục chặn dòng hướng xuống.
8.1.3.3. Phương pháp thử độ kín ở Điều 8.1.3.1 và 8.1.3.2 phải áp dụng chỉ cho một chiều chảy ở một thời điểm cho mỗi hướng tỳ
8.1.3.4. Thời gian thử độ kín là thời gian tối thiểu duy trì áp suất thử để đo lường tốc độ rò rỉ. Thời gian thử độ kín phải phù hợp với Bảng 7.
8.1.3.5. Trong suốt quá trình thử độ kín, tốc độ rò rỉ cho phép lớn nhất phải phù hợp Bảng 8.
8.1.3.6. Không cho phép rò rỉ tại bi, phía sau mặt tỳ hoặc tại phớt của trục. Quá trình thử không được dẫn tới phá hủy kết cấu. Biến dạng dẻo của đế tỳ đàn hồi không được coi là phá hủy kết cấu.
8.1.3.7. Đối với phép thử độ kín bằng chất khí, mức độ rò rỉ bằng "không" được định nghĩa là có 3 mm3 (1 bong bóng) xuất hiện trong suốt quá trình thử.
CHÚ THÍCH: Các phép chuyển đổi đơn vị đo là không chính xác.
8.2. Giám sát
8.2.1. Mở rộng giám sát
Giám sát của người mua có thể được quy định trong đơn đặt hàng. Nếu không có quy định khác, quá trình kiểm tra phải được giới hạn như sau.
- Giám sát lắp ráp van để đảm bảo phù hợp với đặc điểm kỹ thuật của bên mua, có thể bao gồm quy định các phương pháp kiểm tra không phá hủy.
- Chứng kiến các phép thử áp lực yêu cầu.
- Xem xét các báo cáo thử nghiệm của nhà máy và nếu được quy định thì xem xét cả báo cáo phép thử không phá hủy và thử bằng tia X.
8.2.2. Giám sát địa điểm
8.2.2.1. Khi bên mua yêu cầu được chứng kiến các phép thử van tại nhà máy của nhà sản xuất, người của bên mua có quyền tiếp cận các khu vực của nhà máy có liên quan đến quá trình thử van.
8.2.2.2. Khi bên mua yêu cầu kiểm tra có bao gồm kiểm tra áp suất của các chi tiết được chế tạo tại một cơ sở khác với nhà máy, các chi tiết này phải có thể được kiểm tra tại nơi nó được làm ra.
8.3. Kiểm tra
8.3.1. Với mỗi van, các mục được liệt kê trong phụ lục A đều phải được kiểm tra bởi nhà sản xuất trước khi vận chuyển.
8.3.2. Quá trình đúc các chi tiết bao chịu áp suất và các chi tiết đóng kín (bi) phải kiểm tra trực quan bởi nhà sản xuất trong suốt quá trình chế tạo để chắc chắn rằng bề mặt đạt được yêu cầu của MSS-SP-55.
8.3.3. Nhà sản xuất phải kiểm tra tất cả các van để đảm bảo van tuân thủ đúng yêu cầu tiêu chuẩn này.
8.3.4. Các phép thử phải được thực hiện phù hợp với các quy trình đi kèm với tiêu chuẩn áp dụng.
8.4. Kiểm tra bổ sung
8.4.1. Các loại kiểm tra bổ sung chỉ được yêu cầu nếu có quy định trong đơn hàng.
8.4.2. Việc kiểm tra vật đúc và vật rèn bằng hạt từ, chụp tia X, chất lỏng thẩm thấu và siêu âm có thể được quy định theo quy trình hoặc tiêu chuẩn được chấp nhận của bên mua hoặc theo Điều 8 trong ASME B16.34:1996.
8.4.3. Khi điều kiện làm việc yêu cầu thử chịu lửa, phép thử đó nên tuân theo quy định ISO 10497.
9. Chuẩn bị cho phân phối
9.1. Sau khi thử, mỗi van phải được làm khô nước và chuẩn bị phân phối. Phải chú ý khi kiểm tra nước trên thân van bao quanh viên bi.
9.2. Trừ các van bằng thép chống gỉ austenitic, bề mặt ngoài không gia công của van phải phủ một lớp chống gỉ theo tiêu chuẩn nhà sản xuất. Lớp bảo vệ đó không đước chứa nguyên tố chì.
9.3. Trừ các van bằng thép chống gỉ austenitic, các bề mặt ren được gia công cơ khí không chịu được gỉ do môi trường, phải được phủ một lớp chống gỉ dễ loại bỏ và không được chứa chì.
9.4. Vỏ bảo vệ bằng gỗ, sợi gỗ, chất dẻo hoặc kim loại phải được cố định chặt với đầu mặt bích và đầu hàn để bảo vệ bề mặt đệm và đầu hàn. Lớp bảo vệ phải được thiết kế sao cho van không thể lắp vào đường ống nếu còn lớp bảo vệ.
9.5. Vỏ bảo vệ bằng gỗ, sợi gỗ, chất dẻo hoặc kim loại phải được chèn chặt vào lỗ van và lỗ ren. Lớp bảo vệ phải được thiết kế sao cho van không thể lắp vào đường ống nếu còn lớp bảo vệ.
9.6. Tại thời điểm phân phối, trừ khi có cản trở bởi thiết kế, bi phải được để ở vị trí mở.
9.7. Khi cần đóng gói đặc biệt, bên mua hàng phải quy định các yêu cầu đóng gói sản phẩm trong đơn đặt hàng.
PHỤ LỤC A
(Tham khảo)
THÔNG TIN ĐƯỢC QUY ĐỊNH BỞI NGƯỜI MUA
CHÚ THÍCH: Các tài liệu tham khảo trong ngoặc vuông là các điều khoản hoặc điều khoản nhỏ trong tiêu chuẩn này
Kích thước danh nghĩa của van [1] (DN hoặc NPS) 3)……………………………………………….
Áp suất danh nghĩa [1] (PN hay loại)………………………………………………………………..
Vật liệu đệm kín [4.3]…………………………………………………………………………………….
Ghép nối van [5.2]
Ghép ren (ren ống TCVN 7701-1 (ISO 7-1) hoặc ASME B1.20.1) [5.2.2.2]……………………..
Ghép mặt bích - Nếu yêu cầu các mặt bích rời, nó phải được chỉ định rõ [5.2.2.3]…………….
Mặt của mặt bích
Mặt bích có gờ, gioăng khớp nối hoặc dạng khác [5.2.2.1]…………………………………...
Gia công lần cuối nếu khác so với tiêu chuẩn [5.2.2.4]………………………………………..
Đầu nối hàn cần chi tiết nếu khác với tiêu chuẩn [5.2.3.1]
Đầu hở có ren [5.2.6]: ………………………….………………………………………………….
Cấu tạo của bi không phải khối đặc [5.2.10]: ……………………………………………………….
Tay cầm - khác với tay cầm tiêu chuẩn [5.2.11.1 và 5.2.11.7]: …………………………………...
Cơ cấu vận hành dùng bánh răng [5.2.11.1]: ……………………………..………………………
Lực vận hành nếu khác với tiêu chuẩn [5.2.11.2]: ……………………………….…………………
Vật liệu [6]
Vỏ chịu áp [6.1]: ……………………………………….……………………………………………...
Bộ phận đóng ngắt, kim loại khác với tiêu chuẩn [6.3]: ……………………………………….
Bu lông - đặc biệt với trường hợp nhiệt độ thấp [6.5.1]: ………………………………………
Gioăng kín - nhiệt độ danh nghĩa [6.6]: ……………………………………….…………………..
Kiểm tra vị trí [8.2]: ………………………………………………………………………………...
Thử không phá hủy bổ sung [8.4.2]
Thử loại chịu lửa bổ sung [8.4.3]
PHỤ LỤC B
(Tham khảo)
NHẬN DẠNG CÁC BỘ PHẬN CỦA VAN
Các hình sau chỉ nhằm mục đích nhận dạng tên các chi tiết. Cấu trúc của một van được chấp nhận theo tiêu chuẩn này chỉ khi nó phù hợp với tiêu chuẩn ở tất cả các khía cạnh, điều khoản.

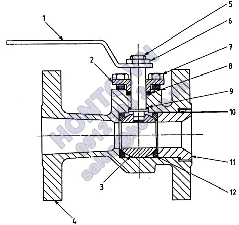
| CHÚ DẪN: 1 Tay cầm (loại tay gạt) 2 Bạc chèn 3 Bi 4 Thân 5 Trụ van 6 Đai ốc trụ van | 7 Bu lông ghép bạc chèn 8 Đệm kín trụ van 9 Vòng đệm ép (vòng đệm chặn) 10 Gioăng thân van 11 Thân chèn 12 Vòng bít kín |
Hình B.1 - Các bộ phận của một van bi động (thân liền 1 mảnh)

| CHÚ DẪN: 1 Trụ van 2 Nắp 3 Vòng đệm chặn 4 Vòng đệm kín 5 Thân 6 Bi 7 Ổ đỡ trụ xoay 8 Trụ xoay 9 Bạc chèn 10 Bu lông nắp 11 Vòng đệm nắp 12 Đệm kín trụ van 13 Đệm kín thân van 14 Nắp thân 15 Lò xo đệm kín 16 Bu lông ghép thân van 17 Đệm kín trụ xoay 18 Mặt phẳng trụ xoay 19 Vòng cách của ổ |
Hình B.2 - Các bộ phận của van bi có ngõng trục (loại thân rời)
THƯ MỤC TÀI LIỆU THAM KHẢO
[1] TCVN 9446 (ISO 10434), Van cửa bằng thép có nắp bắt bằng bu lông dùng cho dầu khí, hóa dầu và các ngành công nghiệp liên quan.
[2] ISO 4200, Plain end steel tubes, welded and seamless - General tables of dimensions and masses per unit (ống thép hàn và ống thép cán - Bảng kích thước và khối lượng trên một đơn vị chiều dài thông thường).
[3] ISO 5211, Industrial valves - Part-turn actuator attachments (Van công nghiệp - Chi tiết tay quay đính kèm)
[4] ISO 7121, Metal ball valves for general-purpose industrial applications (Van bi thép dùng cho các ứng dụng công nghiệp thông thường)
[5] ISO 14313, Petroleum and natural gas industries - Pipeline transportation systems - Pipeline valves (Công nghiệp dầu khí và khí ga tự nhiên - Hệ thống vận tải bằng đường ống - Van đường ống)
[6] ISO 15761, Steel gate, globe and check valves for sizes DN 100 and smaller, for the petroleum and natural gas industries (Van cổng thép, van cầu và van một chiều cho kích thước DN 100 và nhỏ hơn dùng cho công nghiệp dầu khí và khí ga tự nhiên)
[7] API Standard 608, Metal ball valves - Flanged, threaded and welding end (Tiêu chuẩn API 608, Van bi kim loại - Mặt bích, đầu ren và đầu hàn)
[8] ASME B16.11, Forged fittings, socket-welding and thtreaded (ASME B16.11, Các đầu nối rèn, hốc hàn và đầu nối ren)
[9] ASME B16.25, Butt-welding ends (Đầu hàn đối đầu)
[10] ASME B36.10, Welded and seamless wrought steel pipe (Ống thép hàn và ống thép cán)
3) Thông tin cần thiết phải cung cấp bởi người mua.
Xem tiếp: Van bi thép thông dụng trong công nghiệp - Phần 1
Xem lại: Van bi thép dùng cho dầu khí, hóa dầu và các ngành công nghiệp liên quan - Phần 2
Sưu tầm và biên soạn bởi: https://donjoy.chanh.in